音叉液位計
產品簡介
TT-YC型音叉液位計又稱(音叉式振動物位開關)是通過壓電晶體的諧振來引起其振動的,當受到物料阻尼作用時,振幅急劇降低且頻率和相位發生明顯變化,這些變化會被內部電子電路檢測到,經過處理后,轉換成開關信號輸出。音叉液位計可以對料罐的高低位進行檢測、控制和報警,適用于各種液體、粉末、顆粒狀固體。音叉液位計實用簡單、運行可靠、適用性強基本上是免維護的、音叉和輸出均有工作狀態,均用發光二極管指示,可依據習慣調整狀態指示,并配有三種輸入方式(直流24V、交流110V和交流220V)和多種輸出方式(直流電流輸出型、繼電器接點輸出型、直流電壓輸出型)。所有類型均有高或低故障報警模式和可選擇的儀表開關靈敏度。
產品特點
●不需調校:由于音叉物位開關的檢測不受被測介質電參數及密度的影響,所以無論測量何種介質都不需要現場調校;
●免于維護:由于音叉物位開關的檢測過程由電子電路完成,無活動部件,所以一經安裝投入使用便不需要維護;
●適應性強:被測介質不同的電參數、密度對測量均不產生影響,結垢、攪動、湍流、氣泡、振動、中等粘度、高溫、
高壓等惡劣條件對檢測也無影響。
技術參數
1、技術參數
●介質溫度范圍:-20℃~150℃;
●環境溫度:-20℃~80℃;
●環境濕度:≤95%RH;
●被測介質:液體、粉末或顆粒狀固體;
●被測介質密度:固體≥0.1g/cm3 液體≥0.7g/cm3;
●被測固體顆粒尺寸:≤10mm;
●*大液體粘度:<1000mm2/s;
●被測介質安息角:≥200;
●壓力范圍:≤4MPa;
●殼體材料:壓鑄鋁合金;
●叉體材料:1Cr18Ni9Ti;
●防爆等級:DIIBT4;
●外殼防護等級:IP65;
●連接方式:G1”螺紋;
●法蘭(用戶選定)。
2、電氣參數
●供電電壓:DC24V;AC220V 50HZ;
●輸出信號:繼電器輸出:8A 220V AC 3A 24V DC;
●電源功耗:≤2W ;
●音叉振動頻率:300±50Hz;
●環境振動等級:V.L.4加速度不大于1g ;
●開關信號動作時間:1-60S。
產品選型
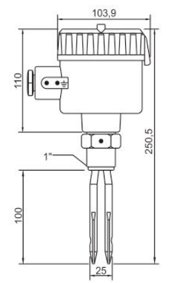
一、外形尺寸圖
二、電氣連接
儀表接線見圖所示,儀表接線端的1、2為AC220V,3為大地,4、5為DC24V。6、7、8、9、10、11為兩組繼電器輸出。

1、電源指示燈
2、動作狀態指示燈
3、上限、下限報警設置開關
4、靈敏度調節
5、動作釋放延遲調節
6、復位按鍵
紅燈-電源指示 綠燈-叉體狀態指示
三、調試
●當限位報警選擇L,叉體振動以綠燈滅指示,接線端子6和7,9和10為常閉,7和8,10和11為常開,物體碰到叉體時叉體停振,綠燈亮,繼電器觸點翻轉6和7,9和10斷開,7和8,10和11閉合。調整延時旋鈕報警釋放延遲1-60秒。
●限位報警選擇處于H狀態,叉體振動綠燈亮為指示,接線端子6和7,9和10為常開,7和8,10和11為常閉,物體碰到叉體時,綠燈滅,繼電器翻轉6和7,9和10閉合,7和8,10和11斷開。調整延時旋鈕報警釋放延遲1—60秒。
●一般情況下將狀態調在L段即可,以選擇繼電器輸出端子實現上下限報警。
●靈敏度調整:根據介質的密度調整,密度越低靈敏度應調整越高。
●現場振動比較強烈的情況下造成的誤報可將靈敏度適當降低來解決。
●當狀態指示選擇好后,按說明接線,確認無誤后,接通電源,用手輕觸音叉端面模擬有物料時,狀態指示燈應變換狀態,手離開后狀態指示應復原。如此反復幾次,確認工作正常后方可準備在現場安裝。
傳真:0517-86842019
QQ:65283268
郵箱:tengtaiyibiao@126.com
地址:淮安市金湖縣金北街道辦陳橋工業集中區4-4號 ?







